很可惜 T 。T 您现在还不是作者身份,不能自主发稿哦~
如有投稿需求,请把文章发送到邮箱tougao@appcpx.com,一经录用会有专人和您联系
咨询如何成为春羽作者请联系:鸟哥笔记小羽毛(ngbjxym)
4月18日晚间,北京怡合春天科技有限公司,也即是北京最大的医院预约挂号平台“京医通”运营方,发布了“停运通知”。
在通知中,该公司声称因为出资方北京银行拒绝履行出资义务,导致其公司独自负担该项目七年之久,在数亿元的成本下已经“不堪重负、弹尽粮绝”。因此,将在2022年4月20日9时起,正式停运该平台。
尽管北京银行在4月19日发布回应,表示将会继续与怡合春天积极沟通,不会影响到正常的医院挂号服务。但这一突发事件所造成的负面影响,已经在各个社交媒体平台发酵。
考虑到近两年来,北京银行多次遭到监管部门的处罚,同时被多起金融、财务案件所纠缠,又在今年3月份发生了高层人事变动,不得不令人为北京银行的现状表示担忧。
与此同时,在本次事件中暴露的医疗信息化建设问题,也同样值得深思。
根据公开资料信息,“京医通”成立于2012年,是由北京市卫健委、北京市医院管理局联合北京银行共同发起的惠民工程。
在怡合春天发布停运通知之前,京医通的注册用户已经累计超过了2.5亿,预约挂号业务的覆盖率也达到了95%,单日挂号量更是超过了10万次。这也意味着,如果北京银行拒绝履行出资义务的事情属实,很可能会影响到整个北京范围内的医疗秩序稳定。
不过,北京市卫健委和医院管理局都已经发声,表示将会督促涉事双方依法理性解决纠纷,相信在政府机构的管控下,此次停运事件不会引起太大波澜。但经此一役,北京银行的处境,或许会变得更加糟糕。
具体表现在以下两个方面——
1.两年来多次遭到处罚,城商银行中累计罚款金额位居第一。
根据新华社旗下媒体新华财经的统计信息,2020年、2021年两年间,北京银行收到的罚单数量分别为16张、13张,共计29张。在城商银行中仅次于累计31张的江苏银行,位居行业第二。
同时,由于江苏银行在去年只收到了12张罚单,目前2021年单一年份排行榜中,北京银行高居榜首。
而在罚款金额方面,北京银行以两年间分别高达5617.5万元、1717万元的罚款,远远超过江苏银行的1255万元、1335万元,无论是累计还是单一年份,都以“绝对优势”位列第一。
之所以2020年的罚款金额如此惊人,主要因为北京银行曾于2019年前后被卷入康得新财务造假案。
2019年1月15日,康得新有两笔超短期融资融券出现违约,需要支付10亿元左右的短期债务。当时康得新有122亿元存放在北京银行西单支行,却迟迟无法进行有效偿还,同时北京银行回应称康得新“账户余额为零”。
后来经过监管部门的调查,康得新主动发布公告,声称“控股股东康得投资集团与北京银行签订了《现金管理合作协议》,其账户余额按照零余额管理,即各自子账户的资金全额归集到康得投资集团账户。”
而后,康得新因财务造假面临退市,而北京银行也为此被银保监会以“现金管理业务不审慎”等15项违规案由,在2020年12月31日开出了共计4290万元的罚单。
一年后,2021年9月26日,北京银行又因为“服务收费管理不力”等原因,被银保监会处罚820万元。一举创下了2021年城商银行中,单张罚单罚款金额最高的记录。
纵观北京银行这两年间遭受处罚的原因,2020年12月违规出具存款证明和对外销售虚假金融产品、2021年2月未能确保交易信息真实性和完整性……诸如此类,似乎都在一定程度上反映了,北京银行在征信管理、内部控制等各方面长期存在的短板和漏洞。
而本次停运风波之后,北京银行很难说不会再次遭到处罚。其背后所涉及的管理漏洞,或许也会再一次被人们所提及。
2.业绩增速放缓,房地产贷款过高。
据不完全统计,截至2021年6月底,在16家已经上市的城商银行中,以3.06万亿元的资产总额排名第一的北京银行,较年初增长了5.48%。而同期分别排名第二第三的上海银行和江苏银行,资产总额分别是2.62万亿元和2.55万亿元,增长幅度分别为6.75%和9.21%。
不仅如此,根据北京银行公布的2021年上半年财报,其总营收虽然以333.72亿元的数据位居第一,但同比增长幅度只有0.56%。而以307.37亿元总营收位居第二的江苏银行,涨幅却有22.67%。
此外,2021年前三季度,北京银行的归母净利润增速仅有9.73%。不仅远低于江苏银行30.51%的增速,同时也不如上海银行的10.58%,以及宁波、南京、杭州等银行平均位于20%以上的水准,表现出了明显的业绩增速放缓态势。
再加上2021年上半年,北京银行房地产业贷款占比29.82%,个人住房贷款占比20.69%。对比其所处的第二档房地产业贷款占比上限27.5%,个人住房贷款占比上限20%,北京银行在房地产贷款业务上,也呈现出了较为明显的负债成本过高。
不管“京医通”事件以怎样的方式结尾,在强监管时代,再一次遭受商业信誉冲击的北京银行,都到了好好审视自己的时候。如果能够借此机会梳理内部管理机制、协调业务板块,未尝不能将行业第一的头衔更长久地延续下去。
另一方面,怡合春天以近乎“挟持人质”的方式,公然和北京银行“撕破脸”,或许也透露着医疗信息化服务行业的无奈。
1.强监管时代背景下,经营模式尚不明朗。
2018年前后,我国医疗信息化建设进入全面启动期,相关市场规模也在2020年达到了650.3亿元,有望冲击千亿市场宽度。其中,电子病历集成、医疗质量监管、临床辅助决策、大数据建设与应用、患者服务等,都是在信息化建设过程中优先权最高的细分赛道。
只是怡合春天旗下“京医通”所属的患者服务领域中,不少企业可能还没能走通切实可行的盈利模式。就像是已经占据北京地区大部分市场份额的京医通,按照正常的商业逻辑,手握大量注册用户、不缺流量、与三甲医院联系紧密,怎么都不像是无法正常盈利的模样。
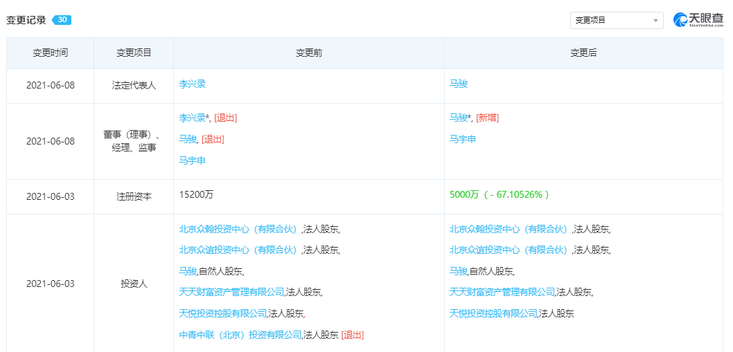
然而通过天眼查可以发现,手握头部级别产品的怡合春天,却在2021年6月份经历了投资人退出、注册资本缩水、法人变更等一系列变故。再到一年后被数亿元的经营成本压垮,似乎很难与京医通的商业潜力相匹配。
其中原因,固然如同怡合春天的通告中说明的,京医通是被北京银行用作社会责任亮点宣传的,没有盈利属性的“公益项目”。更多的原因,或许还在于高强度的监管下,企业难以轻易转变经营模式,进而导致了资金出现问题后,企业很难展开有效的自救。
考虑到医疗体系的特殊性,为了维护医疗秩序的稳定,少不了要对第三方企业进行严格的监管。但是如何在强监管干预下,维持正常的盈利,可能还需要极为漫长的试错过程。
2.亏损率居高不下。
除了怡合春天这样的特殊案例,大部分切入患者服务赛道的第三方企业,即便找准了适合自己的经营模式,如何止亏盈利仍是难以逃避的问题。
例如主营院外患者服务业务,曾获得腾讯、红杉资本等知名企业投资,并且在2021年10月15日向港交所递交上市申请的圆心科技。从2015年开始,圆心科技获得了超过11家资本机构的投资,可谓是深得资本市场信任,此后更是保持着营收数据的持续增长。
可是从2018年至2021年,圆心科技却陷入了将近4年的连续亏损。根据财报信息,截至2021年8月份,圆心科技累计亏损11.44亿元。
即便是阿里健康、中投等资本机构所看重的医疗大数据独角兽“零氪科技”,也在2019年和2020年中面临着不小的亏损率,净亏损长期徘徊在5亿元左右。
除了这两点最关键的因素外,患者服务行业还受到数字化科技成本不断攀升、优质医疗资源分布不均、医疗和健康管护能力有限等等问题的困扰。想要有所突破,或许离不开大量的时间和沉没成本积累。
无论如何,北京银行与怡合春天的纠纷,更像是在发展优化过程中难以避免的磨合,很难完全将责任完全归咎为其中一方。
至少在真相完全公布之前,还是尽可能地从理智角度去看待吧。
参考资料:
《城商行合规透视:北京银行收罚单数及被罚金额居首》——新华财经
《北京最大预约挂号入口将停运?北京银行回应》——21世纪经济报道
《互联网医疗蓝海之上,冰山即将浮出水面》——猎云网
本文为作者独立观点,不代表鸟哥笔记立场,未经允许不得转载。
《鸟哥笔记版权及免责申明》 如对文章、图片、字体等版权有疑问,请点击 反馈举报
Powered by QINGMOB PTE. LTD. © 2010-2025 上海青墨信息科技有限公司 沪ICP备2021034055号-6

我们致力于提供一个高质量内容的交流平台。为落实国家互联网信息办公室“依法管网、依法办网、依法上网”的要求,为完善跟帖评论自律管理,为了保护用户创造的内容、维护开放、真实、专业的平台氛围,我们团队将依据本公约中的条款对注册用户和发布在本平台的内容进行管理。平台鼓励用户创作、发布优质内容,同时也将采取必要措施管理违法、侵权或有其他不良影响的网络信息。
一、根据《网络信息内容生态治理规定》《中华人民共和国未成年人保护法》等法律法规,对以下违法、不良信息或存在危害的行为进行处理。
1. 违反法律法规的信息,主要表现为:
1)反对宪法所确定的基本原则;
2)危害国家安全,泄露国家秘密,颠覆国家政权,破坏国家统一,损害国家荣誉和利益;
3)侮辱、滥用英烈形象,歪曲、丑化、亵渎、否定英雄烈士事迹和精神,以侮辱、诽谤或者其他方式侵害英雄烈士的姓名、肖像、名誉、荣誉;
4)宣扬恐怖主义、极端主义或者煽动实施恐怖活动、极端主义活动;
5)煽动民族仇恨、民族歧视,破坏民族团结;
6)破坏国家宗教政策,宣扬邪教和封建迷信;
7)散布谣言,扰乱社会秩序,破坏社会稳定;
8)宣扬淫秽、色情、赌博、暴力、凶杀、恐怖或者教唆犯罪;
9)煽动非法集会、结社、游行、示威、聚众扰乱社会秩序;
10)侮辱或者诽谤他人,侵害他人名誉、隐私和其他合法权益;
11)通过网络以文字、图片、音视频等形式,对未成年人实施侮辱、诽谤、威胁或者恶意损害未成年人形象进行网络欺凌的;
12)危害未成年人身心健康的;
13)含有法律、行政法规禁止的其他内容;
2. 不友善:不尊重用户及其所贡献内容的信息或行为。主要表现为:
1)轻蔑:贬低、轻视他人及其劳动成果;
2)诽谤:捏造、散布虚假事实,损害他人名誉;
3)嘲讽:以比喻、夸张、侮辱性的手法对他人或其行为进行揭露或描述,以此来激怒他人;
4)挑衅:以不友好的方式激怒他人,意图使对方对自己的言论作出回应,蓄意制造事端;
5)羞辱:贬低他人的能力、行为、生理或身份特征,让对方难堪;
6)谩骂:以不文明的语言对他人进行负面评价;
7)歧视:煽动人群歧视、地域歧视等,针对他人的民族、种族、宗教、性取向、性别、年龄、地域、生理特征等身份或者归类的攻击;
8)威胁:许诺以不良的后果来迫使他人服从自己的意志;
3. 发布垃圾广告信息:以推广曝光为目的,发布影响用户体验、扰乱本网站秩序的内容,或进行相关行为。主要表现为:
1)多次发布包含售卖产品、提供服务、宣传推广内容的垃圾广告。包括但不限于以下几种形式:
2)单个帐号多次发布包含垃圾广告的内容;
3)多个广告帐号互相配合发布、传播包含垃圾广告的内容;
4)多次发布包含欺骗性外链的内容,如未注明的淘宝客链接、跳转网站等,诱骗用户点击链接
5)发布大量包含推广链接、产品、品牌等内容获取搜索引擎中的不正当曝光;
6)购买或出售帐号之间虚假地互动,发布干扰网站秩序的推广内容及相关交易。
7)发布包含欺骗性的恶意营销内容,如通过伪造经历、冒充他人等方式进行恶意营销;
8)使用特殊符号、图片等方式规避垃圾广告内容审核的广告内容。
4. 色情低俗信息,主要表现为:
1)包含自己或他人性经验的细节描述或露骨的感受描述;
2)涉及色情段子、两性笑话的低俗内容;
3)配图、头图中包含庸俗或挑逗性图片的内容;
4)带有性暗示、性挑逗等易使人产生性联想;
5)展现血腥、惊悚、残忍等致人身心不适;
6)炒作绯闻、丑闻、劣迹等;
7)宣扬低俗、庸俗、媚俗内容。
5. 不实信息,主要表现为:
1)可能存在事实性错误或者造谣等内容;
2)存在事实夸大、伪造虚假经历等误导他人的内容;
3)伪造身份、冒充他人,通过头像、用户名等个人信息暗示自己具有特定身份,或与特定机构或个人存在关联。
6. 传播封建迷信,主要表现为:
1)找人算命、测字、占卜、解梦、化解厄运、使用迷信方式治病;
2)求推荐算命看相大师;
3)针对具体风水等问题进行求助或咨询;
4)问自己或他人的八字、六爻、星盘、手相、面相、五行缺失,包括通过占卜方法问婚姻、前程、运势,东西宠物丢了能不能找回、取名改名等;
7. 文章标题党,主要表现为:
1)以各种夸张、猎奇、不合常理的表现手法等行为来诱导用户;
2)内容与标题之间存在严重不实或者原意扭曲;
3)使用夸张标题,内容与标题严重不符的。
8.「饭圈」乱象行为,主要表现为:
1)诱导未成年人应援集资、高额消费、投票打榜
2)粉丝互撕谩骂、拉踩引战、造谣攻击、人肉搜索、侵犯隐私
3)鼓动「饭圈」粉丝攀比炫富、奢靡享乐等行为
4)以号召粉丝、雇用网络水军、「养号」形式刷量控评等行为
5)通过「蹭热点」、制造话题等形式干扰舆论,影响传播秩序
9. 其他危害行为或内容,主要表现为:
1)可能引发未成年人模仿不安全行为和违反社会公德行为、诱导未成年人不良嗜好影响未成年人身心健康的;
2)不当评述自然灾害、重大事故等灾难的;
3)美化、粉饰侵略战争行为的;
4)法律、行政法规禁止,或可能对网络生态造成不良影响的其他内容。
二、违规处罚
本网站通过主动发现和接受用户举报两种方式收集违规行为信息。所有有意的降低内容质量、伤害平台氛围及欺凌未成年人或危害未成年人身心健康的行为都是不能容忍的。
当一个用户发布违规内容时,本网站将依据相关用户违规情节严重程度,对帐号进行禁言 1 天、7 天、15 天直至永久禁言或封停账号的处罚。当涉及欺凌未成年人、危害未成年人身心健康、通过作弊手段注册、使用帐号,或者滥用多个帐号发布违规内容时,本网站将加重处罚。
三、申诉
随着平台管理经验的不断丰富,本网站出于维护本网站氛围和秩序的目的,将不断完善本公约。
如果本网站用户对本网站基于本公约规定做出的处理有异议,可以通过「建议反馈」功能向本网站进行反馈。
(规则的最终解释权归属本网站所有)